Hyppää pääsisältöön
Ankkurivarsi manusluukkuun
41-58V4a
Suositushinta
5484.00€

    Ankkurivarsi manusluukuissa käytettäväksi yhdessä Ikar PLW henkilövinssin, Rescue Slide liukukehyksen ja HRA-turvatarraimen kanssa, jossa on myös pelastusvinssi. Soveltuu seinässä oleviin luukkuihin ja lattiassa oleviin luukkuihin. Mahdollistaa työntekijän nopean evakuoimisen sairaskohtauksen tai tapaturman jälkeen tai pääsyn varmistamiseen vaikeapääsyiseen paikkaan. Pikarruuvikiinnityksen ansiosta nopea siirtää haluttuun paikkaan. Kehys tilattavissa tilauksen yhteydessä räätälöitynä: Ilmoita myyjällesi mitat reikien sijainneista ja kehyksen materiaalivahvuus, ja sisällytä viestiin muutama valokuva sekä mielellään piirustus manusluukusta mikäli mahdollista.

    Soveltuu teollisuuden tarpeisiin mm. lääke- ja elintarvike-, ja kemianteollisuudelle, ylläpitoon mm. kaivoihin, huoltokuiluihin, säiliöihin, hormeihin, uuneihin, isoihin koneisiin ja muihin ahtaisiin tiloihin pääsemiseen sekä pelastuskäyttöön. Materiaali V4A ruostumaton teräs, joka soveltuu myös mm. elintarviketeollisuuden vaatimuksiin. CE EN795 tyyppi B. Lisäksi testattu CEN/TS 16415:2013 mukaisesti taakkojen nostoihin. Paino 25 kg ilman lisävarusteita.

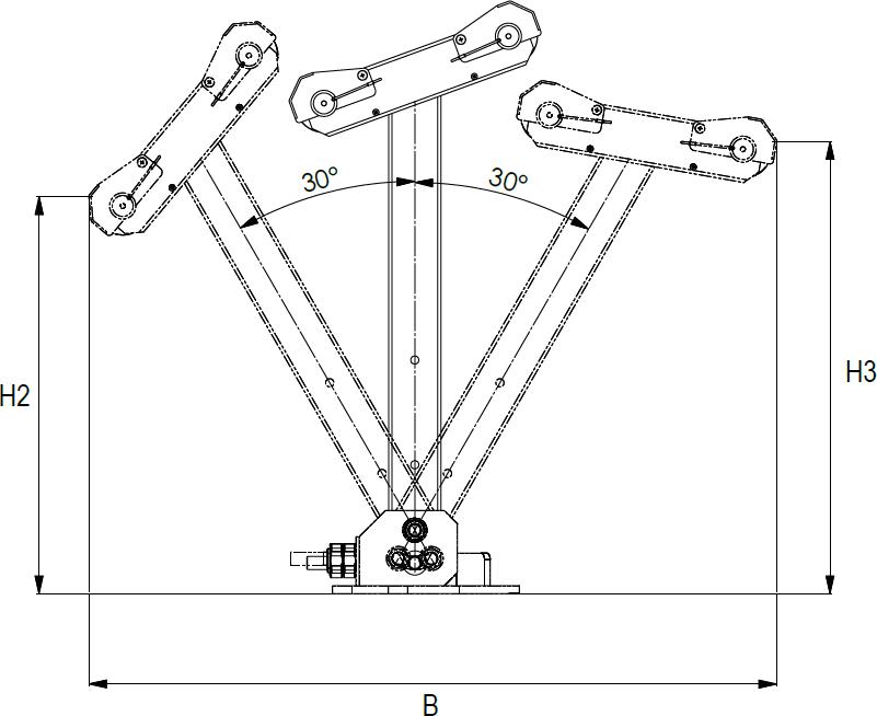
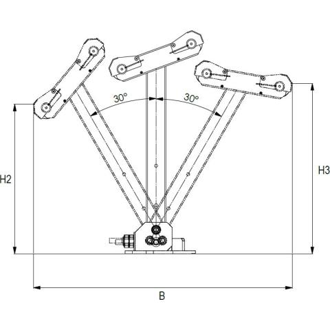
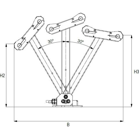
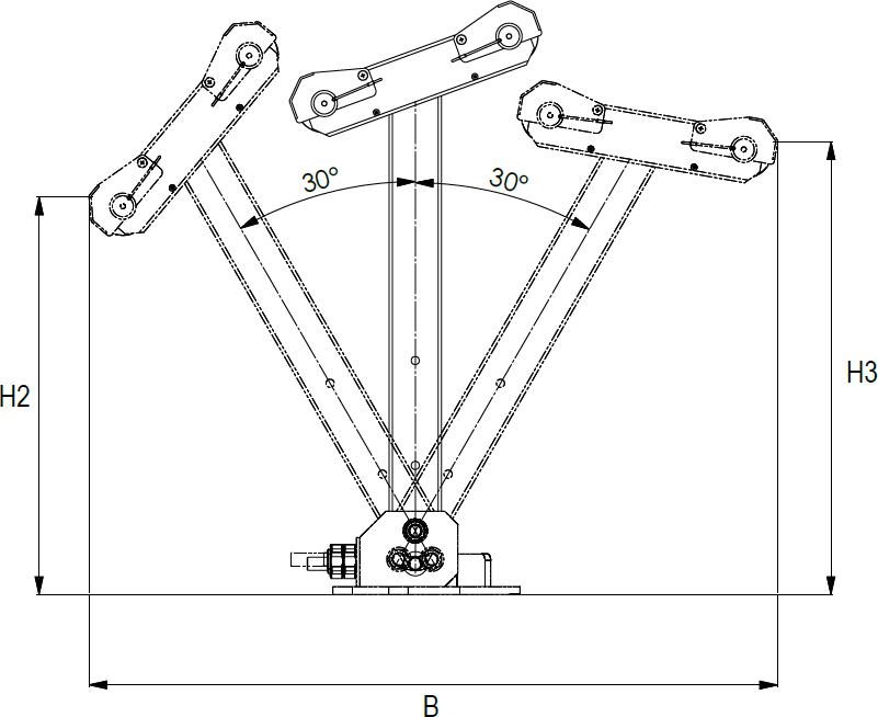
    Kallistettavissa 30-astetta pystyeasnnosta molemmille puolille, jollon katetun alueen leveys 1051 mm. Korkeus 905 mm. Integroidun taljapyörän minimietäisyys asennusalustasta 606 mm.

    Saatavilla seuraavat lisävarusteet:

    LIUKUKEHYS:
    Rescue Slide (41-55/1)

    TURVATARRAIMEN KIINNIKKEET:
    HRA 9,5-24 m kiinnike yläorteen (41-54/AL9,5-24V4)

    TURVATARRAIMET PELASTUSKAMMELLA:
    HRA turvatarrain 12 m galvanoidulla vaijerilla (41-HRA 12)
    HRA turvatarrain 12 m RST vaijerilla (Ikar 41-HRA 12 E)
    HRA turvatarrain 18 m galvanoidulla vaijerilla (41-HRA 18)

    VINSSIN KIINNIKKEET:
    Vinssin kiinnike alavarteen (41-54 HLW1-4V4)

    VINSSIT:
    PLW henkilövinssi 30 m vaijerilla (41-PLW)

    Lisäksi jatkovarsimahdollisuuksia tilauksesta, riippuen asennuspaikan ominaisuuksista.

    Tuotekoodi 41-58V4a
    Suositushinta (alv 25,5%) 5484,00e
    Kuvaus Cantilever Arm AASS-M
    Lisäkuvaus Ankkurivarsi manusluukkuun
    Korvaa tuotteen 41-55V4
    Takuu (kk) 12
    EAN 4255795801226
    Tuoteluokka Putoamissuojaus ja kiipeily - Ankkurivarret